上海贝岭BL9359是一款内部集成功率MOSFET的降压型开关稳压器,采用电流模式控制,具备快速环路响应和高稳定性,适用于高电压功率转换、智能电表、汽车系统、工业电力系统、分布式电力系统及电池供电系统。芯片输入电压范围4.5~60V,输出峰值电流0.5A,输出电压可从0.81V调节至0.95倍输入电压,固定开关频率480KHz(实际范围380~580KHz),效率超过90%,性能表现优异。
采用6引脚SOT23-6L封装,工作结温覆盖-40℃~125℃,存储温度-65℃~150℃,适配多种严苛工作环境。内部功率MOSFET导通电阻1Ω,静态电流典型值0.73mA,关机电流低至0.1uA(最大1uA),极大降低功耗,尤其适合电池供电场景。具备完善的保护机制,包括逐周期过流保护(极限电流典型值1.5A)、165℃热关断保护、输入欠压锁定,其中欠压开启阈值典型值3.3V、关断阈值3.05V,负载短路时FB电压低于250mV会触发频率折返保护,保障器件安全稳定运行。
EN引脚为使能输入,可通过外接100K电阻到IN端实现自动开启,使用灵活。外围配置简单,电感推荐额定电流比最大负载大30%,典型适配10~15uH;输入端需接4.7uF/50V去耦电容,电解或钽电容需并联0.1uF陶瓷电容;输出端采用低ESR的10uF电容稳定电压;SW引脚需就近连接低正向压降肖特基二极管(如DFLS160)以减小开关尖峰。PCB布局需缩短开关电流路径,减小环路面积,反馈电路布线短直且贴近芯片,SW引脚远离FB等敏感区域,大面积覆铜提升散热和长期可靠性。
一 BL9359的特性
宽工作电压范围(4.5V至60V)
内置MOSFET阻值1欧姆
输出峰值电流最大0.5A
固定开关频率480kHz
陶瓷输出电容稳压
逐周期过流保护
热关断保护
效率大于90%
输出从+0.81V到0.95Vin可调
关机静态电流小于1uA
SOT23-6L封装
二 BL9359的应用信息

1 典型应用图

2 引脚排列及定义


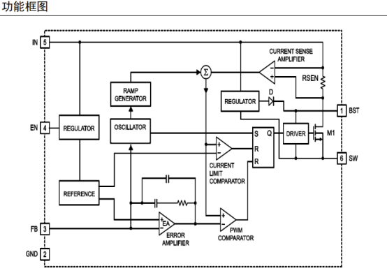
3 功能框图

4 基础参数


