集成了十通道、多模式、宽频电容模拟前端传感电路的数字电容处理器芯片
创始人
2025-11-07 11:05:42
0

数字电容处理器芯片通过电容变化感知目标物体状态,核心原理包括电容传感、模数转换和信号处理。芯片内置感测电极,当物体靠近时,电极间电容值因介电常数变化而改变。

MCP1081S (Mysentech Capacitive Processor)是新一代电容传感微处理器SOC芯片,集成了十通道、多模式、宽频电容模拟前端传感电路、微处理器、存储及丰富的I/O接口。电容测量频率在0.1~30MHz范围内可配置,输出为16bit数字信号,较高分辨率为1fF。

数字电容处理器芯片

芯片支持多种工作模式,可以测量包括单端电容、双端浮空电容和互电容多种模式。芯片内部集成了16bit高精度的数字温度传感器,可用于需要温度补偿及其它温度复合传感的场景。

为了解决各行业电容感知的嵌入式处理,SOC芯片集成了Arm® Cortex®-M0内核的微处理器,可实现各种感知算法的边缘计算,将原始测量的振荡频率数值,转换成电容值及液位、含水率、位移、接近距离、等具体物理量。芯片内置了16KB Flash存储器及2KB SRAM,可让开发者编写应用软件,并存储传感校准及应用数据。芯片同时集成了ADC、高级定时器、通用定时器、16位基本定时器等硬件资源以及USART和I2C等接口。

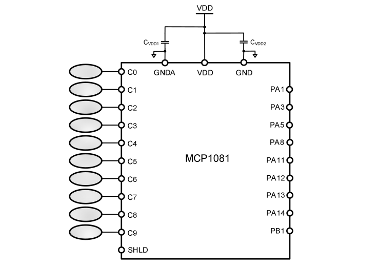
MCP1081的单端模式典型应用电路如下:

单端模式典型应用电路

其中管脚C0至C9连接单端电极,选取内部20pF作为参比电容。图中管脚分配仅为一种示例。在实际应用中,可以根据需要,分配管脚连接单端电极、互电容电极或者外接电容。图中VDD滤波电容CVDD1和CVDD2的取值范围为100nF至10uF,两个GND管脚都需要接地。

MCP1081的双端模式典型应用电路如下:

双端模式典型应用电路

其中管脚C0和C1、C2和C3、C4和C5、C6和C7、C8和C9接双端电极,选取内部20pF作为参比电容。在实际应用中,可以根据需要,分配管脚连接双端电极或者外接电容。图中VDD滤波电容CVDD1和CVDD2的取值范围为100nF至10uF, 两个GND管脚都需要接地。

电容传感芯片 - MCP1081S的特性:

电容检测前端

–10路单端电容/5路双端电容测量

–电容测量范围:1pF~10nF

–电容检测频率:100KHz~30MHz

–电容/频率分辨率:16bit

–支持有源屏蔽,相邻互电容测量

内核与系统

–32-bit Arm®Cortex®-M0

–工作频率可达48MHz

存储器

–16KB Flash存储器

–2KB SRAM

时钟、复位和电源管理

–2.3V~5.5V供电

–上电/断电复位(POR/PDR)、可编程电压

监测器(PVD)

–内嵌48MHz HSI高速振荡器

–内嵌40KHz LSI低速振荡器

–支持较高48MHz外部时钟输入(HSE,通过OSCIN引脚)

低功耗

–支持低功耗模式,包括:睡眠(Sleep)和深度睡眠(Deep Sleep)

–平均功耗:12uA@1Hz

5个定时器

–1 个16位4通道高级控制定时器(TIM1)

–1 个16位4通道通用定时器(TIM3)

–1 个16位基本定时器(TIM14)

–1 个独立时钟的硬件看门狗定时器(IWDG)

–1 个Systick定时器:24位自减型计数器

9个快速I/O端口

–所有I/O口可以映像到外部中断

–所有端口均可输入输出电压不高于VDD的信号

3个通信接口

–1个USART接口

–1个I2C接口

1个12位模数转换器(ADC),支持较快1μs转换时间(1MSPS采样率),配置4个外部通道和1个可采集内置参考电压的内部通道

CRC计算单元

96位芯片唯一ID(UID)

调试模式–串行调试接口(SWD)接口

工作温度范围-40℃~+85℃

单通道转换时间:0.1ms~23.5ms可配置

内置16bit高精度数字测温

相关内容

深南电路:股东总数4145...
有投资者在互动平台向深南电路提问:“深南电路董秘你好,请问公司截止...
2026-04-14 07:45:54
杰华特获得实用新型专利授权...
证券之星消息,根据天眼查APP数据显示杰华特(688141)新获得...
2026-04-14 07:44:12
埃科光电龙虎榜数据(4月1...
4月13日埃科光电(688610)收盘价110.49元,收盘上涨1...
2026-04-14 07:43:41
三星显示申请电子装置和用于...
国家知识产权局信息显示,三星显示有限公司申请一项名为“电子装置和用...
2026-04-14 07:42:00
创识科技新注册《智慧养老-...
证券之星消息,近日创识科技(300941)新注册了《智慧养老-电子...
2026-04-14 07:41:31
宁德时代获得外观设计专利授...
证券之星消息,根据天眼查APP数据显示宁德时代(300750)新获...
2026-04-14 07:40:34
雷曼光电获得外观设计专利授...
证券之星消息,根据天眼查APP数据显示雷曼光电(300162)新获...
2026-04-14 07:40:10
江丰电子获得实用新型专利授...
证券之星消息,根据天眼查APP数据显示江丰电子(300666)新获...
2026-04-14 07:39:38
新亚电子获得实用新型专利授...
证券之星消息,根据天眼查APP数据显示新亚电子(605277)新获...
2026-04-14 07:39:09

热门资讯

宁德时代获得外观设计专利授权:... 证券之星消息,根据天眼查APP数据显示宁德时代(300750)新获得一项外观设计专利授权,专利名为“...
雷曼光电获得外观设计专利授权:... 证券之星消息,根据天眼查APP数据显示雷曼光电(300162)新获得一项外观设计专利授权,专利名为“...
公募机构最新调研动向 聚焦机器... 4月以来,随着上市公司年报业绩密集披露,公募机构密集调研寻找确定性机会。公募排排网数据显示,4月6日...
宏明电子:公司产品暂未用于PC... 每经AI快讯,有投资者在投资者互动平台提问:公司产品是否可用于PCB相关产业链? 宏明电子(3016...
宏明电子:公司主要收入来源于电... 证券之星消息,宏明电子(301682)04月13日在投资者关系平台上答复投资者关心的问题。 投资者提...
纳力新材申请具有U型金属片的集... 国家知识产权局信息显示,扬州纳力新材料科技股份有限公司申请一项名为“一种具有U型金属片的集流体及其制...
新创界自动化申请气体保护中压开... 国家知识产权局信息显示,成都新创界自动化设备有限公司申请一项名为“一种气体保护中压开关柜的监测方法及...
断电电位测不准?极化探头+智能... 阴极保护系统中,断电电位是判断管道保护效果的核心指标。但实际检测中,通电电位往往“说谎”。 IR降的...
四连阳!科创创业50ETF(5... 上周市场波动虽在,但前期受外部扰动压制较多的双创与科技成长方向表现亮眼。科创创业50ETF招商(58...
港股午评:恒指跌1.18%,科... 美伊谈判破裂,市场风险情绪低迷。港股上午盘三大指数集体下跌,恒指跌1.18%,国指跌0.74%,恒生...